Americký Sram chystá standardizaci zadního uchycení brzdového třmenu. Patentoval si jeho nový tvar...
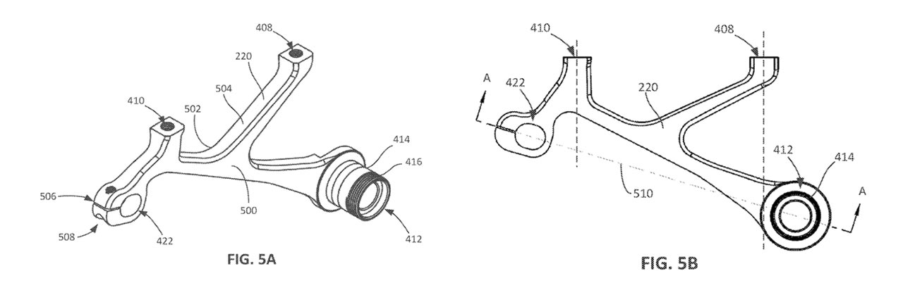
Po úspěchu svého UDH systému (Universal Derailleur Hanger) pravé zadní patky a závěsu přehazovačky americký Sram zaregistroval další patent, mířící pro změnu na druhou stranu zadní stavby, který by mohl změnit současnou konstrukci držáku třmenu zadní brzdy. Univerzální adaptér zadního brzdového třmene je našroubovaný přímo na pevnou zadní osu, stejně jako UDH zavěšení přehazovačky, a na druhé straně je přišroubovaný k sedlové vzpěře zadní stavby.
V patentu registrovaném společností Sram firma navrhuje univerzální řešení jednoho z nejčastějších problémů současných systémů, kterým je přesné napolohování zadního brzdového třmenu bez vlivu výrobních tolerancí rámů a také následných laků na ně aplikovaných. Tímto způsobem se brzdový třmen přesně spasuje s brzdovým kotoučem, čímž se zabrání komplikovanému seřizování polohy třmenu a současně se zlepší i brzdný výkon.

Patent navíc poznamenává, že tato konstrukce výrazně snižuje namáhání rámu, protože přenáší brzdné zatížení přímo na držák místo na samotný rám. Tím by se nejen zlepšila odolnost rámů, ale také by se snížily vibrace a nepříjemné zvuky při brzdění.
Myšlenka brzdového držáku ukotveného k zadní nápravě přitom rozhodně není nová. Obdobný způsob uchycení brzdového třmenu již využívají někteří výrobci na svých vybraných modelech jako například MMR Kenta nebo Ghost Riot, ale vstup Sramu má ambice tento koncept standardizovat, a docílit plošné kompatibility a nasazení. Nedá se však předpokládat, že by došlo ke 100% pokrytí všech rámů, protože některá kola disponují čepy a konstrukcí zavěšení, které nejsou s tímto systémem kompatibilní.

V každém případě by přijetí tohoto nového standardu mohlo znamenat nový posun paradigmatu ve výrobě a vůbec navrhování rámů a bylo by dalším bodem, v rámci kterého by Sram zabodoval mezi výrobci rámů. Ti by mohli z tohoto systému těžit snížením nákladů spojených s vývojem a výrobou držáků brzd a kromě toho by nabídli jednoznačné zlepšení v oblasti bezpečnosti, hmotnosti i odolnosti a potažmo i servisovatelnosti.
Tento patent Sram nejen otevírá dveře možné standardizaci brzdových úchytů a komplexnímu zlepšení brzdného výkonu, ale může to být také první krok tohoto amerického giganta, připravující do budoucna prostor pro představení nějaké nové technologie, podobně jako tomu bylo v rámci řazení a nových přehazovaček určených přímo pro UDH patky.

Bude hodně zajímavé sledovat, jak se k tomuto patentu postaví jednotlivé značky a jak rychle se objeví v rámci nově představených rámových platforem. Že je to však běh na delší trať, je více než jasné...
Diskuze k článku
Nemá náhodou něco podobného TREK na Supercaliberech už tak 5 let a na Procaliberech tak od letošního léta
matheus — #1 Ano, uvádím to v článku že obdobu tohoto řešení již dnes používá více značek a i Trek mezi ně patří.
najnovší trek supercaliber to má na najnovšom modeli predstavený loni ... scott e-lumen to má tiež od roku 2023 myslím ... takže ide fakt len o registraciu patentu ....
Vložit komentář